大東海泵業無錫有限公司
銷售總部:江蘇無錫新吳區長江路21-1號創源大廈309
生產基地:無錫市東港鎮
銷售熱線:0510-82108358
銷售熱線:0510-82116911
聯系電話:13395114288
QQ: 2634113519


大東海泵業無錫有限公司
銷售總部:江蘇無錫新吳區長江路21-1號創源大廈309
生產基地:無錫市東港鎮
銷售熱線:0510-82108358
銷售熱線:0510-82116911
聯系電話:13395114288
QQ: 2634113519


大東海泵業無錫有限公司是一家專業的ZX型系列自吸式離心泵生產廠家。在客戶ZX型系列自吸式離心泵選型時,我公司水泵廠家會提供完善的ZX型系列自吸式離心泵型號、ZX型系列自吸式離心泵價格等售前服務,以供客戶參考,并且我水泵廠家能為客戶提供定制泵業產品的服務。本條產品資訊是關于ZX型系列自吸式離心泵使用及維護注意事項的知識:
ZX型系列自吸式離心泵概述
本公司生產的ZX(P)系列自吸式離心泵是根據國內外有關技術資料經吸收、消化、改進后研制而成的節能泵類產品。該泵屬自吸式離心泵,它具有結構緊湊、操作方便、運行平穩、維護容易、效率高、壽命長并有較強的自吸能力等優點。管路中不需安裝底閥,工作前只需保證泵體內儲有定量引液即可。因此簡化了管路系統,又改善了勞動條件。
ZX型系列自吸式離心泵型號意義
ZX型系列自吸式離心泵的應用范圍
1、適用于城市環保、建筑、消防、化工、制藥、染料、印染、釀造、電力、電鍍、造紙、工礦沖洗、設備冷卻等。
2、裝上搖臂式噴頭、又可將水沖到空中后.散成細小雨滴進行噴霧,是農場、苗圃、果園、茶園的良好機具。
3、適用于清水、海水及帶有酸、堿度的化工介質液體和帶有一般糊狀的漿料(介質粘度≤100厘珀、含固量可達30%以下)。
4、可和任何型號、規格的壓濾機配套使用,將漿料送給壓濾機進行壓濾的最理想配套泵種。
ZX型系列自吸式離心泵工作原理與結構說明
| 1 | 聯軸器 | 2 | 泵軸 | 3 | 軸承 | 4 | 機械密封 | 5 | 軸承體 | 6 | 泵殼 | 7 | 出口座 |
| 8 | 進口座 | 9 | 前密封環 | 10 | 葉輪 | 11 | 后蓋 | 12 | 檔水圈 | 13 | 加液孔 | 14 | 回液孔 |
ZX型系列自吸式離心泵采用軸向回液的泵體結構。泵體由吸入室、儲液室、渦卷室、回液孔、氣液分離室等組成,泵正常起動后,葉輪將吸入室所存的液體及吸入管路中的空氣一起吸入,并在葉輪內得以完全混合,在離心力的作用下,液體夾帶著氣體向渦卷室外緣流動,在葉輪的外緣上形成有一定厚度的白色泡沫帶及高速旋轉液環。氣液混合體通過擴散管進入氣液分離室。此時,由于流速突然降低,較輕的氣體從混合氣液中被分離出來,氣體通過泵體吐出口繼續上升排出。脫氣后的液體回到儲液室,并由回流孔再次進入葉輪,與葉輪內部從吸入管路中吸入的氣體再次混合,在高速旋轉的葉輪作用下,又流向葉輪外緣。隨著這個過程周而復始地進行下去,吸入管路中的空氣不斷減少,直到吸盡氣體,完成自吸過程,泵便投入正常作業。
在一些自吸式離心泵的軸承體底部還設有冷卻室。當軸承發熱引起軸承體溫升超過70℃時,可在冷卻室處通過任意一只冷卻液管接頭.注入冷卻液循環冷卻。泵內部防止液體由高壓區向低壓區泄漏的密封機構是前后密封環,前密封環裝在泵體上,后密封環裝在軸承體上,當泵經長期運轉密封環磨損到一定程度,并影響到泵的效率和自吸性能時,應給予更換。
ZX型系列自吸式離心泵的使用
(一)、起動前的準備及檢查工作:
1.本系列自吸泵,根據泵的工作運轉狀況,分別采用優質鈣基黃油和10號機油進行潤滑,如果采用黃油潤滑的泵應定期向軸承箱內加注黃油,采用機油潤滑的泵,如果油位不足,則加足之。
2.檢查泵殼內的儲液是否高于葉輪的上邊緣,如若不足,可以從泵殼上的加液口處直接向泵體內注入儲液,不應在儲液不足的情況下啟動運轉,否則泵不能正常工作,且易損壞機械密封。
3.檢查自吸式離心泵的轉動部件是否有卡住磕碰現象。
4.檢查泵體底腳及各聯結處螺母有無松動現象。
5.檢查泵軸與電動機主軸的同軸度和平行度。
6.檢查進口管路是否漏氣,如有漏氣,必須設法排除。
7.打開吸入管路的閥門,稍開(不要全開)出口控制閥。
(二)、起動及操作:
1.點動自吸泵,注意泵軸的轉向是否正確。
2.注意轉動時有無不正常的聲響和振動。
3.注意壓力表及真空表讀數,起動后當壓力表及真空表的讀數經過一段時間的波動而指示穩定后,說明泵內已經上液,進入正常輸液作業。
4.在自吸式離心泵進入正常輸液作業前即自吸過程中,應特別注意泵內水溫升高情況,如果這個過程過長,泵內水溫過高,則停泵檢查其原因。
5.如果自吸式離心泵內液體溫度過高而引起自吸困難,那么可以暫時停機,利用吐出管路中的液體倒流回泵內或向泵體上的加儲液口處直接向泵內補充液體,使泵內液體降溫,然后起動即可。
6. 自吸式離心泵在工作過程中如發生強烈振動和噪聲,有可能是泵發生汽蝕所致,汽蝕產生的原因有兩種:一是進口管流速過大,二是吸程過高,流速過大時可調節出口控制閥,升高壓力表讀數,在進口管路有堵塞時則應及時排除;吸程太高時可適當降低泵的安裝高度。
7. 自吸式離心泵在工作過程中因故停泵,需再起動時,出口控制閥應稍開(不要全閉),這樣既有利于自吸過程中氣體從吐出口排出,又能保證泵在較輕的負荷下啟動。
8.注意檢查管路系統有無滲漏現象。
(三)、停泵:
1.首先必須關閉吐出管路上的閘閥。
2.使泵停止轉動。
3.在寒冷季節,應將泵體內的儲液和軸承體冷卻室內的水放空,以防凍裂機件。
ZX型系列自吸式離心泵維護和拆裝
該泵的特點是結構簡單可靠,經久耐用。在泵正常情況下,一般不需要經常拆開保養。當發現故障后隨時給予排除即可。
1.維護自吸式離心泵時應注意幾個主要部位。
A.滾動軸承:當泵長期運行后,軸承磨損到一定程度時,須進行更換。
B.前密封環、后密封環:當密封環磨損到一定程度時,須進行更換。
C.機械密封:機械密封在不漏液的情況下,一般不應拆開檢查。若軸承體下端泄漏口處產生嚴重泄漏時,則應對機械密封進行拆檢。裝拆機械密封時,必須輕取輕放,注意配合面的清潔,保護好靜環和動環的鏡面,嚴禁敲擊碰撞。因機械密封而產生泄漏的原因主要是摩擦付鏡面拉毛所至。其修復辦法,可對磨擦付端面進行研磨使恢復鏡面。機械密封產生泄漏的另一原因是O形橡膠密封圈(或緩沖墊)安裝不當、或者變形老化所至。此時則需調整或更換O形密封固進行重新裝配。
2. 自吸式離心泵拆裝順序:
A.拆下電動機或脫出聯軸器。
B.拆出軸承體總成,檢查葉輪和前口環的徑向間隙,檢查葉輪螺母有無松動。
C.拆下葉輪螺母,拉出葉輪,檢查葉輪和后密封環的徑向間隙。
D.松出機械密封的緊定螺釘,拉出機械密封的動環部分,檢查動、靜環端面的貼合情況,檢查O形密封圈(或緩沖墊)的密封情況。
E.旋出聯軸器的緊定螺母,拉出聯軸器。
F.拆下軸承端蓋,拆出泵軸和軸承。
G.安裝時以相反順序進行裝配即可。
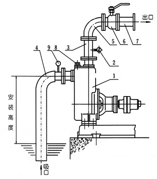
ZX型系列自吸式離心泵的安裝
![]() |
|
1、在泵與電動機直聯傳動時,應注意泵軸與電動機輸出的同軸度;泵安裝的準 確與否對泵的運行平穩性和使用壽命有較大的影響,因此必須仔細認真地安裝和校正。
2、自吸式離心泵聯軸器必須用螺母緊固好,并鎖緊螺母,謹防螺母松動,否則易引起葉輪竄動,造成機械故障。
3、為使泵體內能夠保持一定的儲存液,以達到較好的自吸能力和防止機械密封的干磨擦,必須使泵的進口高于泵軸中心線。
4、吸入管路的安裝應注意:
A.吸入口的安裝高度不能超過5米,在條件許可時,吸入口的安裝高度應盡可能地低于水池最 低的儲水平面,并盡量縮短吸入管的長度,少裝彎頭,這樣有利于縮短自吸時間,提高自吸功能。
B.吸入管路中的閥門、法蘭等應嚴防漏氣或滲漏液體,即吸入管路不允許有漏氣現象存在。
C.應防止泵體內吸入固體等雜物,為此吸入管路上應設置過濾器。過濾器的有效過流面積應為吸入管截面的2-3倍,過濾器應定期檢查。
D.吸入管路和吐出管路應有自己的支架,泵體本身不允許承受管路的負荷。
5、自吸式離心泵在安裝時,應使泵及管路的靜電接地電阻達到其規定要求。
6、安裝時應嚴格檢查泵殼及管路中有無石塊,鐵砂等雜物。
7、校正自吸式離心泵聯軸器及電機動聯軸器的安裝間隙及同軸度,其不同軸度允許偏差為0.1毫米。泵軸和電動機軸的高度差可在底腳上墊銅皮或鐵皮調整。
8、在機組實際運轉3-4小時后,作最后檢查,如無不良現象,則認為安裝已妥,在試運轉中應檢查軸承的溫度,軸承體的溫度不宜超過70℃。
9、自吸式離心泵軸承體凡設有冷卻室裝置的冷卻水接頭供配內孔為φ12的膠管或塑料管之用,其螺紋尺寸為M12*1.75。
10、在自吸式離心泵的出口管路上如裝有單向閥而在自吸過程中不能使泵順利地排出氣體時,應在泵的出口處加接排氣小管及閥。
非常感謝您對大東海泵業無錫有限公司官方網站的訪問!以上是關于ZX型系列自吸式離心泵使用及維護注意事項的介紹,如您對此問題還想深一步了解,或有其他泵業產品、水泵選型、水泵型號、水泵價格的問題需要解答,請聯系本水泵廠家,大東海泵業還生產潛水泵,隨時歡迎您的咨詢。謝謝!